德彩网

广东台翰深孔钻厂家专业定制生产数控深孔钻、加工中心、雕铣机、钻攻机等深小孔加工设备,欢迎来电咨询合作!

联系电话
banner
当前位置:首页 > 新闻资讯

深孔钻削设计的原理以及深孔钻削的Zui主要特征

文章作者:台翰机械 发布时间:德彩网 浏览次数:2826次

摘要:现在有很多加工的工具比如深孔钻削,在工作中深孔钻削的精准度非常的高,那么下面就让我们一起来了解一下深孔钻削设计的原理以及深孔钻削的Zui主要特征吧。

深孔钻削设计的原理以及深孔钻削的Zui主要特征

德彩网 现在有很多加工的工具比如深孔钻削,在工作中深孔钻削的精准度非常的高,那么下面就让我们一起来了解一下深孔钻削设计的原理以及深孔钻削的Zui主要特征吧。

深孔钻削设计的原理以及深孔钻削的Zui主要特征

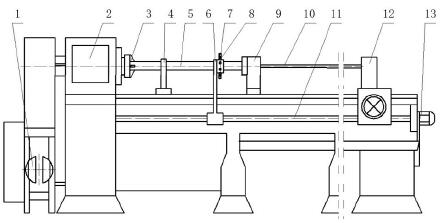
  深孔钻削设计

  一,深孔钻削

  深孔钻削的钻孔长度(或深度)大于等于孔直径的三倍。 所用钻有时称为 BTA 或喷吸钻。 冷却液通过钻头内部送到切削边。

  深孔钻削在机械加工中占有非常重要的地位,但由于有一些技术 问题尚未解决,至今仍是金属切削加工的"瓶颈"工序。在深孔加工中,常常发生钻头刀齿突然崩刃或断齿,即钻头破损,其结果是工件孔表面损伤,钻杆扭弯、断裂,甚至机床被损坏。破损是深孔钻Zui主要的损坏形式。

  二,深孔钻削的Zui主要特征

德彩网  极高的材料去除率;在正常加工条件下钻削深孔均一次贯穿,无需中途退刀;能获得极佳的孔径尺寸精度、直线度、表面粗糙度,并能加工各种形式的深孔,如交叉孔、盲孔、斜孔等;加工质量的高度一致性。当钻削深孔时,整个钻削过程对刀具、机床及相关设备有着极高的要求。深孔加工是处于封闭或半封闭的状态下,故不能直接观察到刀具的切削情况。目前只能凭经验,通过听声音、看切削、观察机床负荷及压力表、触摸震动等外观现象来判断切削过程是否正常。切削热不易传散。一般切削过程中有80%的切削热被切屑带走,而深孔钻削只有40%,刀具占切削热的比例较大,扩散迟、易过热,刀口温度可达600度,必须采取强制有效的冷却方式。切屑不易排出。由于孔深,切削经过的路线长,容易发生堵塞,造成钻头崩刀。因此,切屑的长短和形状要加以控制,并要进行强制性排屑。工艺系统刚性差。因受孔径尺寸限制,孔的长径比较大,钻杆细而长,刚性差,易产生震动,钻孔易走偏,因而支撑导向极为重要。这点在枪钻机床中更为突出。

  三,常用的深孔钻削

德彩网  目前常用的深孔钻削加工系统有枪钻系统、BTA单管钻系统、喷系钻系统。它们代表着先进、高效的孔加工技术,可以获得精密的加工效果,加工出来的孔位置准确,尺寸精度好;直线度、同轴度高,并且有很高的表面光洁度和重复性。能够方便的加工各种形式的深孔,对于特殊形式的深孔,比如交叉孔、斜孔、盲孔及平底盲孔等也能很好的解决。QYZ深孔钻系统属简易的枪钻加工系统。

深孔钻削设计的原理以及深孔钻削的Zui主要特征

  深孔钻削设计

  以上就是小编为大家介绍的关于深孔钻削设计的原理以及深孔钻削的Zui主要特征,深孔钻削的发明为我们的机械加工带来了方便。

本文由自动钻孔机厂家-台翰机械整理发布,转载请注明出处,原文地址:http://geoaktiftoken.com/news/293.html

上一篇:四轴深孔钻那里有?专业的生产厂家专业的服务

下一篇:深孔钻斜孔三角函数 要求相邻的零点和Zui值点

延伸阅读
  • 18-12-11
    现在有很多加工的工具比如深孔钻削,在工作中深孔钻削的精准度非常的高,那么下面就让我们一起来了解一下深孔钻削设计的原理以及深孔钻削的Zui主要特征吧。
  • 18-12-11
    现在有很多加工的工具比如深孔钻削,在工作中深孔钻削的精准度非常的高,那么下面就让我们一起来了解一下深孔钻削设计的原理以及深孔钻削的Zui主要特征吧。
  • 18-12-11
    现在有很多加工的工具比如深孔钻削,在工作中深孔钻削的精准度非常的高,那么下面就让我们一起来了解一下深孔钻削设计的原理以及深孔钻削的Zui主要特征吧。
  • 18-12-11
    现在有很多加工的工具比如深孔钻削,在工作中深孔钻削的精准度非常的高,那么下面就让我们一起来了解一下深孔钻削设计的原理以及深孔钻削的Zui主要特征吧。
  • 18-12-11
    现在有很多加工的工具比如深孔钻削,在工作中深孔钻削的精准度非常的高,那么下面就让我们一起来了解一下深孔钻削设计的原理以及深孔钻削的Zui主要特征吧。
  • 18-12-11
    现在有很多加工的工具比如深孔钻削,在工作中深孔钻削的精准度非常的高,那么下面就让我们一起来了解一下深孔钻削设计的原理以及深孔钻削的Zui主要特征吧。
  • 18-12-11
    现在有很多加工的工具比如深孔钻削,在工作中深孔钻削的精准度非常的高,那么下面就让我们一起来了解一下深孔钻削设计的原理以及深孔钻削的Zui主要特征吧。
  • 18-12-11
    现在有很多加工的工具比如深孔钻削,在工作中深孔钻削的精准度非常的高,那么下面就让我们一起来了解一下深孔钻削设计的原理以及深孔钻削的Zui主要特征吧。
  • 18-12-11
    现在有很多加工的工具比如深孔钻削,在工作中深孔钻削的精准度非常的高,那么下面就让我们一起来了解一下深孔钻削设计的原理以及深孔钻削的Zui主要特征吧。
客服
分享
电话
服务电话:
13556750742
乐盈VI 旭彩网 - welcome 500505百万文字论坛综合资料-500308百万文字论坛-780790百万文字论坛红字-798790百万文字论坛下载-500505百万文字论坛雷锋版 天天中彩票-Welcome首页 佰富彩-安全购彩 E乐彩-首页 佰富彩-welcome 六玄网132432玄武版-六玄网lkjw1-六玄网132432-六玄网77492-六玄网1490888